Προς το περιεχόμενο

Προτεινόμενες αναρτήσεις

Δημοσ. (επεξεργασμένο)

Για πειτε καμια γνωμη γιατι εχω δοκιμασει σχεδον τα παντα. 

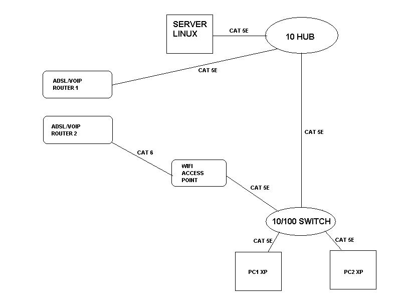
Σε ενα τοπικο δικτυο (βλεπε εικονα) υπαρχει ενα παλιο 10αρι hub (βλεπε εικονα). Θελω να το αλλαξω με ενα 10/100 switch.

 

To προβλημα ειναι οτι οταν βαζω πανω το switch (Link.png Site: καινουριο ), δε λειτουργει το δικτυο. Τα λαμπακια ολα αναβουν αλλα δεν υπαρχει επικοινωνια. Οταν ξαναβαζω πανω το hub ολα δουλευουν.

 

Το μονο παλιο καλωδιο ειναι αυτο που ενωνει τον server με το 10αρι hub. Το αλλαξα με καινουριο. (Πιθανον να ηταν crossover, δεν ειμαι σιγουρος)

 

Αυτο που με προβληματιζει ειναι μεσα απο το μενου του router1 φαινεται οτι η συνδεση ειναι 10 half duplex. Με βαση την εικονα αυτο ειναι φυσιολογικο? Στο router2 η συνδεση λεει 100 full duplex. οποτε οκ με αυτο.

 

Εκανα ενα search στο google και κατεληξα στο εξης. Υπαρχει περιπτωση η καρτα δικτυου στον server να μην ειναι ρυθμισμενη στο auto negotiate? Θα μπορουσε αυτο να ειναι αιτια να μην δουλευει το δικτυο?

 

To σχεδιο μπορει να φαινεται επιπεδο αλλα οι συσκευες ειναι σε διαφορους χωρους και οροφους.

 

PS. Ολες οι IP ειναι "καρφωτες".

post-42276-0-63034100-1422285034_thumb.jpg

post-42276-0-39729100-1422285043_thumb.jpg

Επεξ/σία από VasKag
Δημοσ.

Κοιτα τη καλωδιωση πρωτα διοτι παλια στα hubs βαζανε crossover και οχι straight καλωδια. Θα πρεπει να ειναι ολα straight kai autonegotiation στη καρτα.

Δημοσ. (επεξεργασμένο)

ευχαριστω για την προσπαθεια.

οπως εγραψα το μονο πιθανο crossover θα ηταν αυτο μεταξυ server και hub. το οποιο και αλλαχτηκε.

τωρα για την καρτα, επειδη δεν υπαρχει γραφικο περιβαλλον. παιζει απο κονσολα καμια εντολη για ελεγχο?

 

edit

 

κατι βρηκα

Αν μπορει καποιος να το ερμηνευσει. Εγω απο τα συμφραζομενα καταλαβαινω οτι η καρτα ειναι στο auto.

 

 

Settings for eth0:
        Supported ports: [ TP ]
        Supported link modes:   10baseT/Half 10baseT/Full
                                100baseT/Half 100baseT/Full
                                1000baseT/Full
        Supports auto-negotiation: Yes
        Advertised link modes:  10baseT/Half 10baseT/Full
                                100baseT/Half 100baseT/Full
                                1000baseT/Full
        Advertised auto-negotiation: Yes
        Speed: 10Mb/s
        Duplex: Half
        Port: Twisted Pair
        PHYAD: 0
        Transceiver: internal
        Auto-negotiation: on
        Supports Wake-on: pumbg
        Wake-on: d
        Current message level: 0x00000033 (51)
        Link detected: yes
Επεξ/σία από VasKag
Δημοσ.

Στη σελίδα της TP-Link για το switch σου, αναφέρει πως υποστηρίζει Auto MDI/MDIX (όπως όλα τα σύγχρονα switch), δηλαδή παίζει αυτόματα και με crossover και με κανονικό καλώδιο. Άρα δεν πρέπει να φταίει αυτό.

 

Ναι, κι εγώ συμπεραίνω πως η κάρτα είναι στο auto. Λογικά το hub την "αναγκάζει" να παίζει σε 10BaseT/Half Douplex.

 

Στο σχεδιάγραμμα σου έχεις 2 router στο ίδιο δίκτυο. Πως/γιατί;

Δημοσ.

καταρχας ευχαριστω. Ειναι 2 router, γιατι ειναι 2 τηλεφωνικα νουμερα voip, με ξεχωριστο εξοπλισμο το καθε ενα. Ειναι θεμα πακετου του παροχου. 

 

Μια απορια μιας και με linux, δεν εχω αρκετες γνωσεις. Υπαρχει περιπτωση να εχει ρυθμιστει απο τη διανομη οτι υπαρχει hub? απο οσο θυμαμαι το/τα linux δεν ειναι 100% plug and play? (μπορει να λεω και βλακειες)

Δημιουργήστε ένα λογαριασμό ή συνδεθείτε για να σχολιάσετε

Πρέπει να είστε μέλος για να αφήσετε σχόλιο

Δημιουργία λογαριασμού

Εγγραφείτε με νέο λογαριασμό στην κοινότητα μας. Είναι πανεύκολο!

Δημιουργία νέου λογαριασμού

Σύνδεση

Έχετε ήδη λογαριασμό; Συνδεθείτε εδώ.

Συνδεθείτε τώρα
  • Δημιουργία νέου...